

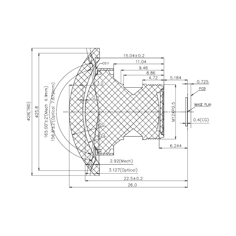
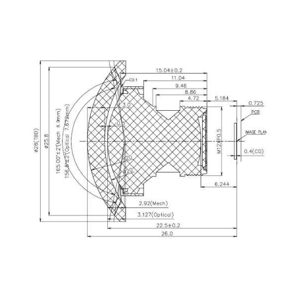
2.9mm Ultra-wide-angle 1/2.3″ 14 Megapixel CCTV HD lens, M12x0.5 mount lens security surveillance
CCL123029MPF is Ultra-wide-angle 1/2.3″ 14MP CCTV HD lens, F2.8 M12x0.5 mount lens, for security or surveillance applications.
| IMAGE FORMAT | 1/2.3“ |
| FOCAL LENGTH(mm) | 2.9 |
| F.O.V. | 156.8°(D) |
| 124.3°(H) | |
| 93.4°(V) | |
| RESOLUTION | 14 MP |
| DISTORTION | <-70% |
| APERTURE | 2.8 |
| MOUNT(mm) | M12x0.5 |
| IRIS | Fixed |
| M.O.D.(m) | 0.3 |
| T.T.L.(mm) | 22.50 |
| DIMENSION(mm) | Φ19×17.32 |
| LENS BARREL | PC+30%GF |
| LENS COMPOMEMT | 6G+1IR |
Download Specs Sheet
Online contact
Sending...
